中国粉体网讯 轮碾机是以碾砣和碾盘为主要工作部件而构成的物料破(粉)碎或混练的设,通常用于粉碎中等硬度的物料,也可作为混合物料之用。


轮碾机图片
物料是在碾盘平面与碾轮与碾轮圆柱形表面之间受到挤压和研磨作用而被粉碎的。用于破碎时,产品的平均尺寸为3~8mm;粉磨时为0.3~0.5mm。
轮碾机工作原理
轮碾机对原料的作用是通过碾轮和碾盘间的相对运动实现的,原料中的块状物料正接触碾轮时受到冲击和挤压而破裂,破裂后的原料及原有小颗粒逐渐进入碾轮正下方被压碎。同时,由于碾轮存在的宽度,使其在绕主轴旋转时产生差速,对原料形成剪切和拉裂的作用,使原料颗粒细化。
轮碾机在粉碎过程中伴有碾揉混合作用,轮碾机对改善和提高物料的工艺性能有明显的作用;轮碾机便于控制产品的粒度,易于实现连续化;轮碾机碾轮用石质材料制成,可避免粉碎时铁质混入;轮碾机生产效率低,单位功耗大;不宜干洁作业,轮碾机因粉尘污染严重;轮碾机采用湿法作业可避免污染,提高产量,降低功耗。轮碾机用于中等硬度物料的细碎或粗磨以及多种物料的揉拌混合。
轮碾机分类
轮碾机按碾轮旋转方式可以分为盘转式和轮转式两种。
盘转式轮碾机:碾盘转动,碾轮绕自身的水平轴旋转。
轮转式轮碾机:碾盘固定不动,碾轮绕垂直主轴转动和自身的水平轴旋转。
按工艺用途分,可以分为湿式轮碾机(可处理含水量超过15-16%的原料),干式和半干式(在物料含水量为10-11%以下时使用)
按操作方法分,轮碾机可以分为连续式轮碾机(加料、卸料连续进行)和间歇式轮碾机(加料、卸料间歇进行)。
轮碾机按碾轮材质分铁质轮碾机和石质轮碾机,分别根据不同的碾压物料选择不同的碾轮材质。碾轮的规格以碾轮的直径x宽度表示。
盘转式轮碾机的零部件

盘转式轮碾机示意图
1-电动机 ;2-支架;3-滑块;4-导槽;5-减速箱;6-圆锥齿轮;7-立轴;8-碾轮;9-水平轴;10-碾盘;11-衬板;12-筛板;13-活动刮板;14-料槽;15-筛板架;16-固定小刮板;17-固定大刮板;18-刮板架;19-栏杆
盘转式轮碾机一般用于物料的干法粉碎,因此通常装有密封式的通风罩,以防止工作时粉尘外逸
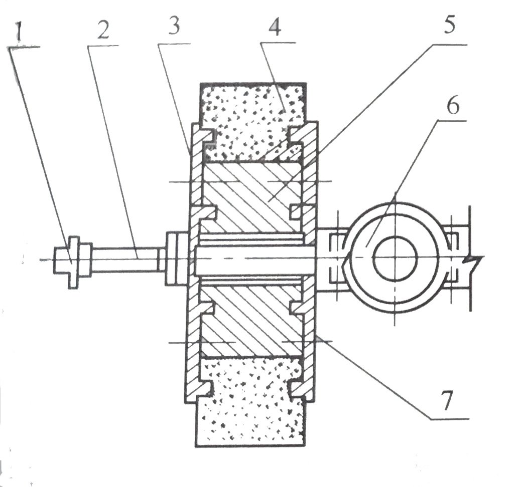
轮碾机的零部件——碾轮
碾轮有轮毂和石质轮圈组成。轮圈用夹板和螺栓固定在轮毂上。碾轮可绕水平轴转动。若工艺上允许物料中混入少量铁质,则轮圈和碾盘上的衬板均可用耐磨钢制造。

碾轮部件示意图
1-滑块;2-水平轴;3-夹板;4-轮圈;5-轮毂;6-联轴器;7-螺栓
轮转式轮碾机的零部件

轮转式轮碾机示意图
1-支架;2-横梁;3-碾轮;4-立轴;5-圆锥齿轮;6-立轴轴承;7-电动机;8-栏杆;9-水平轴;10-碾盘
轮转式轮碾机既可用于干法粉碎,也可用于湿法粉碎。
轮碾机的应用
轮碾机充分应用了机械力学中碾、压、挤、搓等功能,使机械力充分轮碾机充分应用了机械力学中碾、压、挤、搓等功能,使机械力充分活化,让原混合材料在轮碾机的作用下成为活性材料,从而提高制品的强度,这是其它类型的搅拌机不可比拟的。由于以上物理特性,轮碾机广泛的应用于耐材、陶瓷、建材等行业,适用于各种干湿物料及胶状物混合物等,如耐火泥、黏土、粉煤灰,炉渣、尾 矿渣、型砂等。在行业应用中优势十分明显,噪音低、效率高、节能无污染、密封性和适应性强等。
















