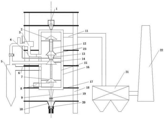
中国粉体网讯 近日,中钢热能院在石灰竖窑研发领域取得重大突破,研发出国内首套块粉分离塔式结构,填补了国内在高粉化率原料焙烧技术方面的空白。
这是“一种高效环保的塔式混燃轻烧镁竖窑及其生产工艺”,在竖窑炉体内外分别设置内燃烧室和外燃烧室,从内外燃烧室产生的高温烟气同时从竖窑炉体中心区域和周边区域与下落的物料进行热量交换,提高能量利用效率,降低非金属矿物轻烧产生的环保问题,同时采用塔式结构易于平衡受力,提高炉窑寿命。

基于这一突破性成果,中钢热能院与建龙西林钢铁有限公司达成深度合作,成功签约200吨/天塔式复热石灰竖窑总承包工程合同。

据技术负责人介绍,该技术已在建龙西林钢铁项目中实现产业化应用。项目投产后,石灰竖窑生产效率提升30%以上,单位产品能耗降低25%,同时减少了窑内积灰和停机维护频次,显著降低了企业运营成本。此外,该技术突破了对高品位石灰石资源的依赖,拓宽了原料选择范围,为冶金行业资源综合利用提供了新路径。
(中国粉体网编辑整理/昧光)
注:图片非商业用途,存在侵权告知删除!



















