近年来随着超细颗粒优越的性能被不断的肯定,越来越多的科研人员开始重视微细粉体制造的研究工作。气流粉碎技术作为一种重要的超细粉体制备方法,目前已成为研制各种高性能微粉材料的首选方法之一。2023气流粉碎机又有哪些研究进展?
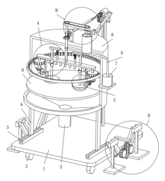
一种气旋式气流粉碎机及其粉碎方法
申请人:河南瀚斯作物保护有限公司
摘要:本发明实现了可对原料起到一个多向振动粉碎效果,提高了整体的粉碎效率;可对进料管内部起到一个防堵塞效果,提高了原料的下料效率;可对整个粉碎机分布实现移动和稳定放置两种状态,进而更便于对其进行搬运等工作。

一种超细石墨制备气流粉碎机
申请人:南通惠港石墨科技有限公司
摘要:通过螺旋扇叶对进料斗内部的物料进行搅动和输送,使进料斗内部的物料能够快速顺利的通过进料斗进入到输料管内部,然后被输料管内部的气流带动进入至粉碎腔内粉碎,减少物料过多堆积在进料斗内部,导致进料斗出口被堵住物料难以进行粉碎的问题,提高了粉碎的稳定性。

一种气流粉碎机
申请人:雅安百图高新材料股份有限公司;成都百图高新材料科技有限公司;上海百图高新材料科技有限公司
摘要:本发明涉及物料粉碎设备技术领域,提供一种气流粉碎机,包括:粉碎腔体;分级轮,安装于粉碎腔体内上部;电机,安装于粉碎腔体外侧壁且与分级轮相传动连接;其中,粉碎腔体内中部固定设有竖向的隔离管,以将该区域分为内外的粉碎区和返回通道;粉碎区可引入超音速气流以将进入其内部的物料粉碎为粗粉和细粉,粗粉在分级轮处向下经返回通道进入粉碎区底部再次参与粉碎,细粉经分级轮排出粉碎腔体。设置的隔离管将粉碎腔体内中部分为内外的粉碎区和返回通道,使得物料粉碎和大颗粒的粗粉下降返回是在独立分开的两个区域进行,减少了相互之间的气流干扰,在局部区域能够形成更加单一稳定的气流,有利于控制在粉碎过程中出现的湍流、紊流等不利因素。

一种锂电材料制备用流化床气流粉碎分级机
申请人:湖南经源科技有限公司
摘要:本发明公开了一种锂电材料制备用流化床气流粉碎分级机,包括粉碎腔、给料管、视镜、分流装置、喷嘴装置、分级腔、分级装置、底腔和主机支架,粉碎腔、分级腔和底腔由上至下依次布置,给料管倾斜连接粉碎腔的侧部,分流装置包括主流管道、环形管道和多根分流管道,环形管道的底部设有多个圆孔,分流管道连接圆孔和喷嘴装置,喷嘴装置包括拉瓦尔喷嘴、喷嘴接管、管套、多个喷嘴套环和喷嘴安装法兰,拉瓦尔喷嘴的接头上设有外螺纹,喷嘴接管的内壁上设有内螺纹,内螺纹和外螺纹相配合,多个喷嘴套环设于拉瓦尔喷嘴和喷嘴接管之间,管套设于喷嘴接管的进口处。与现有技术相比,本发明能够实现流化床气流粉碎机对锂电材料的快速粉碎。

用于磷酸铁锂加工的气流粉碎机
申请人:云南鸿泰博新材料股份有限公司
摘要:本发明主要用于解决物料进料速度过快,会造成物料堵塞,同时当物料相互堆积时,同样会导致物料在送料管内堆积,影响下料。
一种气流式氢氧化锂粉碎机
申请人:浙江永正锂电股份有限公司
摘要:本申请的有益之处在于可将原料均匀分配分配成多份,进入到若干个文丘里管中,且若干个文丘里管采用呈环形阵列分布在圆盘型粉碎仓上方边沿处的设计,可为圆盘型粉碎仓内部四周均匀提供原料,避免原料送入位置单一不均的问题。

一种具有降温保护的碳化钨气流粉碎机
申请人:赣州华茂钨材料有限公司
摘要:本气流粉碎机有非常好的降温效果,避免粉碎物料的相互碰撞和气流粉碎机内壁发生摩擦而产生的热量对其造成损坏,有非常好的使用效果。

块状药粉气流粉碎装置
申请人:上海瑄宇医药科技有限公司
摘要:本实用新型通过敲击组件的设计,可以通过敲击组件定期对过滤板进行敲击,使得过滤板产生共振,从而使过滤板侧壁附着的药粉脱落,提高过滤板的过滤效果,同时对过滤板表面附着的药粉清理,不需要对过滤板进行拆卸,操作简便。

一种对撞式气流粉碎机的引流扩散管
申请人:昆山博瑞凯粉碎设备有限公司
摘要:本实用新型中,通过设置两个半环形引流管,并通过法兰盘将两个半环形引流管连接起来,使得将两个法兰盘拆离后,可以将半环形引流管从气流粉碎机外壳的两侧取下,而不需要拆解气流粉碎机外壳上下两端的气体结构,便于拆卸。

一种气流粉碎机上料装置
申请人:江西华赛新材料有限公司
摘要:本实用新型的一种气流粉碎机上料装置其结构简单、方便实用,通过打散装置将螺杆输送机输送过程产生的团状物料进行打碎,使得物料投放更为均匀,避免团状物料出现堆积的现象。
一种具有除尘功能的气流粉碎机
申请人:苏州多洪伟机械设备制造有限公司
摘要:本实用新型通过导热管、回吹管、加热器和分流管的设置,通过分流管的设置将部分压缩空气分流进入加热器内,之后通过加热器对压缩空气加热,之后被加热的压缩空气进入导热管中与进料口接触将进料口中的物料加热,进而使物料中的水分蒸发起到干燥效果,结构简单不会占据空间,同时通过粉碎机原本气源作为导热结构对物料干燥减少耗能,同时被加热的气源回到粉碎机内参与粉碎避免气源浪费。

一种高效率可湿性粉剂气流粉碎机
申请人:河北双吉化工有限公司
摘要:本实用新型中支撑架、矩形板、矩形框、粉碎箱、高压气泵、矩形箱、风管、双向螺纹杆、皮带轮一、活动块、连接杆和动力组件,可以对粉碎箱的内壁进行清刮,使得其内部不会残留粉剂,且有很好的回收价值,可以有效的减少粉剂的浪费,也让加工的成本降低,且解决了人工清理不便的问题,便于推广使用。

一种金属硅生产用气流粉碎机
申请人:芒市永隆铁合金有限公司
摘要:本实用新型所述的一种金属硅生产用气流粉碎机,通过下料管内部的分离筛能够实现对金属硅碎料的分离,能够有效减少人工分离时所浪费的时间与精力成本,有利于工作人员使用。

一种锂离子电池负极材料气流粉碎机
申请人:苏州多洪伟机械设备制造有限公司
摘要:本实用新型通过电机、转杆、第一皮带轮,第二皮带轮、转轮和转动机构,通过电机的旋转可使得转杆带动第一皮带轮进行转动,同时通过电机的转动带动多组被动齿轮进行转动,通过被动齿轮的转动。

一种气流粉碎机
申请人:三一技术装备有限公司
摘要:气流粉碎机,包括粉碎腔,粉碎腔上设置有:第一物料喷嘴和第一气流喷嘴;组合喷嘴,包括喷嘴主体,喷嘴主体上形成有第二气流喷嘴和第二物料喷嘴,第二物料喷嘴和第二气流喷嘴相套设,或,沿靠近喷口的方向,第二气流喷嘴和第二物料喷嘴相靠拢。该粉碎机可以同批次粉碎硬度不同的物料,第一物料喷嘴和第一气流喷嘴,用来粉碎硬度较小的物料,组合喷嘴用于粉碎硬度较大的物料,且由于组合喷嘴使物料加速喷出而剧烈撞击,提高了粉碎效果、缩短了粉碎时长,则硬度不同的物料在同一粉碎腔内,都能快速地进行良好粉碎,并进行良好的碎后混合,显著提高了多物料的粉碎混合效率。

一种碳酸锂气流粉碎机构
申请人:江西辉腾新能源有限公司
摘要:本实用新型公开了一种碳酸锂气流粉碎机构,包括气流粉碎罐,所述气流粉碎罐上设置有进气管,所述气流粉碎罐上通过排气管连通有过滤箱,所述过滤箱的内部设置有过滤组件,所述过滤组件对排气管中气体进行过滤;所述气流粉碎罐上设置有储气组件,所述储气组件与过滤箱之间连通有第一单向管,所述储气组件与进气管之间连通有第二单向管,以使得过滤箱中过滤后的气体进入进气管中循环使用。通过过滤箱内部的过滤组件可以对排气管中的气体进行过滤,从而可以减小气体中碳酸锂粉的含量,并且通过第一单向管、储气罐和第二单向管可以将过滤后的气体导入至进气管中,便于气流粉碎罐循环重复供气,可以有效的减少气流粉碎罐对外部气体的消耗量。

用于无机颜料生产的气流粉碎机
申请人:南京汇彩纳米新材料有限公司
摘要:本申请涉及一种用于无机颜料生产的气流粉碎机,其涉及气流粉碎机领域,其包括进气室、粉碎室以及分级室,进气室与分级室分别与粉碎室连通,粉碎室上设有加料管,加料管内设有用于研磨颜料的研磨组件,粉碎室上设有安装块,安装块上设有用于破碎颜料的破碎组件。本申请具有利用研磨齿轮、破碎环以及破碎板提高粉碎效果的效果。
一种高精度高效气流粉碎机
申请人:江苏宏基高新材料股份有限公司
摘要:本实用新型所述的高精度高效气流粉碎机,利用旋转的刀片进行切割和预粉碎,提升粉碎的效率,避免较大的粗粉进入分级筒,提升了粉碎精度。

一种进料结构及扁平式气流粉碎机
申请人:东贵精密机械(无锡)有限公司
摘要:本实用新型涉及粉碎机进料技术领域,具体公开了一种进料结构及扁平式气流粉碎机,包括:粉碎机主体侧面设置有进料管,进料管表面设置有定量管,定量管表面设置有储料管,储料管内设置有拉杆,拉杆一端设置有密封盖;有益效果为:本实用新型提出的一种进料结构及扁平式气流粉碎机,使用时当需要对粉碎机主体内部进行加料时,拉动拉杆时密封盖向上提起,这样就可使储料罐内的物料流入定量管内,当流入到合适的量后在送开拉杆时密封盖封堵住储料罐,然后打开开关阀就可将定量管内的物料流入进行粉碎机主体内,简单方便,这样避免了传统的粉碎机主体主要利用漏斗式的进料斗进行进料,缺少定量装置,无法控制加入的物料量的问题。

一种高效粉碎的流化床式气流粉碎机
申请人:广东金晟新能源股份有限公司
摘要:技术要点包括机壳,在机壳内顶部设有分级轮和对应的出料口,所述机壳底部为半球形;所述机壳外侧设有供气环管,在供气环管上设有导通至机壳内部的高压气嘴组,在机壳底部中心设有竖直朝上的回料气嘴;在机壳内部设有集料导向罩,所述集料导向罩上端设有出料孔,所述出料孔的直径小于分级轮内腔入口的直径;所述集料导向罩内部为粉碎区,集料导向罩与机壳内壁之间为回料区;本实用新型旨在提供一种结构简单,便于粗粉再次破碎的高效粉碎的流化床式气流粉碎机;用于磷酸铁锂正极材料生产过程中对烧结的物料进行粉碎。

一种结晶二氧化硅加工用气流粉碎系统及方法
申请人:蚌埠壹石通电子通信材料有限公司
摘要:本发明公开了一种结晶二氧化硅加工用气流粉碎系统及方法,包括气流粉碎机、初级分级组件、二级分级组件和两个旋风分离器,气流粉碎机连通初级分级组件,初级分级组件包括固定仓、调换柱和多个分级轮,固定仓具有安装腔和排放通道,调换柱可轴向旋转地安装在安装腔内,调换柱包括圆柱主件和调节杆,圆柱主件具有多个圆周对称设置的放置腔,每个放置腔内可竖直放置一个分级轮,分级轮由驱动电机带动而可进行轴向旋转,二级分级组件包括两块夹板、旋转筛板和回吹电机,夹板对接安装而形成分级腔,旋转筛板安装在分级腔内,每个夹板上对称安装有两个贯通管,贯通管分别与初级分级组件、回吹电机以及旋风分离器连通。

一种胶粘剂生产线用气流粉碎机
申请人:江西新前沿科技有限公司
摘要:本发明公开了一种胶粘剂生产线用气流粉碎机,包括进出料装置,进出料装置包括电机、碰撞杆、入料管、第三导向板和第二转环,可以控制原料的进入,还可以调节初步粉碎后的颗粒大小;调节装置包括第一导向板、第二导向板和第一转环,可以调节初步粉碎时的粉碎效率;排出装置包括第二外壳、第四导向板、第三外壳、第六导向板和第二喷嘴,可以对原料进行集中粉碎并便于排出粉碎后的原料。

一种流化床式气流粉碎机
申请人:青岛中东石墨有限公司
摘要:一种流化床式气流粉碎机解决了现有的气流粉碎机无法对进料量进行调节,无法根据进料的种类的不同调整计量箱的输送量,使用适用性不佳的问题,提高了计量箱输送量的调节便捷性,从而提高了计量箱的使用适用性。

一种螺旋气流粉碎机
申请人:精华制药集团南通有限公司
摘要:螺旋气流粉碎机,包括粉碎筒,所述粉碎筒的底端固定安装有分类筒,所述分类筒侧端部的上段滑动安装有第一滤板,位于第一滤板上方所述分类筒的侧端部固定安装有两个固定块。本实用新型通过转动出料箱,让出料箱带动转盘在第三凹槽的内部旋转,通过转盘的旋转,让固定孔的内侧壁对伸缩杆的顶端继续挤压,让伸缩杆向下滑动收缩,通过让伸缩杆的顶端与转盘保持一个水平面,保证出料箱可以向任意方向转动,当出料箱停止转动后,伸缩杆通过收缩将顶端插入固定孔的内部,通过伸缩杆对出料箱转动的角度进行固定,通过转盘可以对出料箱的排料方向进行改变,增加使用的便利性。
一种具有分级功能的气流粉碎机
申请人:昆山强迪粉碎设备有限公司
摘要:本实用新型公开了一种具有分级功能的气流粉碎机,涉及气流粉碎机技术领域,包括安装机架,所述安装机架上端从左到右依次安装有安装座、空气压缩机、分级箱和粉碎盘,所述安装座上端安装有螺旋输送机,所述螺旋输送机的进料口安装有料斗,所述螺旋输送机的出料口与分级箱相通,所述分级箱上端设置有分级机构,所述分级机构延伸至分级箱内部,所述空气压缩机输出端安装有加速管,所述加速管另一端与粉碎盘相通,所述粉碎盘上端安装有引风机。本实用新型通过设置分级机构配合分级箱实现原料的预分级,有效避免粒度过大的原料颗粒进入粉碎盘,提高了粉碎效率,通过设置清洁刀头增大破碎刀与筛网的接触面积,还可清除粘附在筛孔中的原料颗粒。

流化床式气流粉碎机
申请人:贝特瑞(天津)纳米材料制造有限公司
摘要:本实用新型提供的流化床式气流粉碎机,包括:空压机、料仓、粉碎室、分级室、除尘室、收集器、除尘风机及用于连接各部件的管道,所述分级室位于所述料仓与所述粉碎室之间,所述料仓中的物料经所述分级室,粒度不符合要求的物料直接进入所述粉碎室进行粉碎,粉碎后的物料被上升气流输送回所述分级室,粒度符合要求的合格细粉与微细粉尘一起从所述管道进入所述除尘室,所述合格细粉在所述除尘室除尘后进入所述除尘室下方的所述收集器,微细粉尘在所述除尘室被收集,所述空压机射出的气流通过所述管道进入所述粉碎室和所述分级室,再从所述分级室流出通过所述管道进入所述除尘室,再从所述除尘室上方流出后经过所述除尘风机净化后排出。
一种大型流化床式气流粉碎机
申请人:苏州金远胜智能装备股份有限公司
摘要:本实用新型提供的大型流化床式气流粉碎机,包括机座、筒体、配气盘、电机、出料器、顶盖、快拆机构,顶盖罩设在筒体上部的分级筒顶部,其边缘通过锁紧螺栓与分级筒连接,快拆机构连接顶盖中部和分级筒外壁,其包括连接在分级筒外壁上的基座、设于基座内的直线轴承、可升降且可转动地穿设在直线轴承内的顶杆、用于连接顶杆和顶盖的连接板,以及连接在基座上的升降气缸和旋转气缸,通过使顶杆中部与升降气缸的气缸杆相连接,使顶杆下端部可上下移动地套设在旋转气缸的旋转轴上,在拆下锁紧螺栓后,能够通过升降气缸动作,使顶杆向上顶起顶盖,再通过旋转气缸动作,即可带动顶杆转动,使顶盖从分级筒的顶部移开,顶盖拆卸方便、拆卸过程安全性好。

信息来源:国家知识产权局、中国专利信息中心
(中国粉体网编辑整理/黑金)
注:图片非商业用途,存在侵权告知删除!
















