中国粉体网讯 在新材料制备、半导体长晶、锂电池生产等诸多高端工业领域,石墨坩埚凭借其优异的耐高温性、良好的导热性及化学稳定性,成为关键核心部件,其性能与结构设计直接影响产品质量、生产效率及设备安全性。近年来,行业对石墨坩埚的使用寿命、提纯效果、自动化适配性等需求持续升级,推动相关技术创新不断涌现。以下将介绍多项石墨坩埚及配套设备的专利技术,展现该领域在结构优化、再生利用、功能升级等方面的突破与进展。
石墨坩埚和长晶设备

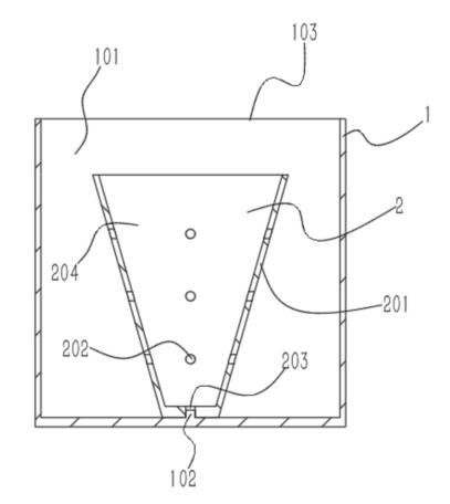
东旭集团有限公司取得了一项名为“石墨坩埚和长晶设备”的专利,该石墨坩埚包括:坩埚本体,坩埚本体的内部形成有填充待加工原料的容纳空间;导流筒,设置在容纳空间中并呈倒圆台状,导流筒上形成有用于对上升气流进行由内向外且倾斜向上导流的导流侧壁,其中,上升气流由待加工原料加热后产生。该石墨坩埚结构简单易于生产制造,且有利于提升晶体的生成质量。
一种熔炼用石墨坩埚的再生纯化方法
宁波创致超纯新材料有限公司取得了一项名为“一种熔炼用石墨坩埚的再生纯化方法”的专利,具体涉及熔炼技术领域,所述再生纯化方法包括:向含有熔炼残渣的石墨坩埚内加入电解液进行电解;所述电解液的液面高于熔炼残渣;所述电解的电流密度为70-90A/m2。本发明提供的再生纯化方法,采用电解的方式对石墨坩埚熔炼后内壁残留的残渣的完全去除同时不对坩埚本体产生损伤,实现了石墨坩埚的高效再生纯化,避免了残渣去除对石墨坩埚的损伤。
一种适用于PVT法提高坩埚使用寿命和晶体质量的圆台石墨坩埚
安徽微芯长江半导体材料有限公司取得了一项名为“一种适用于PVT法提高坩埚使用寿命和晶体质量的圆台石墨坩埚”的专利,本申请涉及晶体生长技术领域,旨在解决现有PVT法碳化硅单晶生长中坩埚内壁化学侵蚀及有害碳颗粒传输问题。

该圆台石墨坩埚特征在于,包括:圆台形状的坩埚主体,内壁涂覆由碳化硅和硼掺杂碳化硅组成的复合梯度涂层;坩埚主体内部设置有两层多孔石墨结构,用于气相精细调控与过滤;坩埚顶部端面设置有两个对称分布的气体注入通道,用于引入高纯度氮气。通过采用上述技术方案,本申请能够显著提升坩埚使用寿命,保障温场稳定性,降低晶体缺陷,从而改善晶体质量。
一种带有充注特种气体装置的立式高温石墨化炉
株洲诺天电热科技有限公司取得了一项名为“一种带有充注特种气体装置的立式高温石墨化炉”的专利,包括炉外壳和外盖,在炉外壳内安装有立式石墨坩埚,立式石墨坩埚上盖有立式石墨坩埚内盖;在立式石墨坩埚的侧面周围及底部从内到外依次包裹有保温层和绝缘层,且在侧面绝缘层外环形围绕有电磁感应加热线圈,通过电磁感应加热线圈的电磁感应加热立式石墨坩埚内的物料;在立式高温石墨化炉内设置有给立式石墨坩埚内充注特种气体的注气系统装置,通过注气系统装置给立式石墨坩埚内充注特种气体。

本发明通过一套灵活可拆卸的注气系统装置,在立式高温石墨化炉作业时,向立式高温石墨化炉炉膛内的立式石墨坩埚内输送特种气体,可以有效清除立式石墨坩埚内腔的挥发性气体物质,提高作业的提纯洁净度。
三代半导体长晶用等静压石墨坩埚制备的炉体装置

福建福碳新材料科技有限公司取得了一项名为“三代半导体长晶用等静压石墨坩埚制备的炉体装置”的专利,装置包括加热炉、石墨坩埚和坩埚盖,加热炉侧壁固定连接有制备台,制备台与加热炉顶端之间固定连接有支撑架,支撑架顶端开设有滑槽,加热炉的炉内通过四个支架固定连接有坩埚座,滑槽内滑动连接有U型的滑块,滑块下方设有调节框,调节框底端贯穿开设有竖槽,竖槽内侧横向滑动连接有一对竖杆,本发明通过竖杆、直角块和移动机构等结构的设置,能够自动将石墨坩埚从加热炉中取出,并放在制备台上,随后能够将制备台上待加热的石墨坩埚移送放入加热炉内,从而实现炉体上石墨坩埚的自动取放,避免触碰烫伤工人现象,大大提高装置的便捷性能。
一种锂电池负极材料碳化用石墨坩埚

石棉县集能新材料有限公司取得了一项名为“一种锂电池负极材料碳化用石墨坩埚”的专利,坩埚的顶部啮合连接有螺纹盖,利用坩埚内部温度不断上升的特点,在坩埚因为高温产生高压气体时,此时高压气体将通过隔板四周的孔洞流至活塞板的底部,迫使活塞板沿着螺纹盖的内壁向上滑动,并带动滑动杆一以及排气组件同步向上移动,而在滑动杆一向上移动时,由于转动板与外部粉末状材料接触,随着滑动杆一向上移动,此时处于坩埚中心部分的粉末材料将在转动板的带动下,同步向上移动,而坩埚四周的粉末将向下滑落,实现在高温密闭环境下,设备能够带动粉末状原材料进行流动,避免设备内部的原料受热差异较大。
参考来源:国家知识产权局
(中国粉体网编辑整理/初末)
注:图片非商业用途,存在侵权告知删除!





















