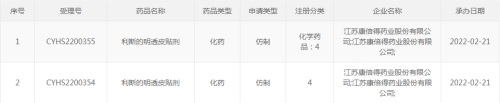
中国粉体网讯 近日,CDE承办了江苏康倍得药业关于利斯的明透皮贴剂(注册分类:4类)的上市注册申请。此款为第二款在CDE承办的国产利斯的明透皮贴剂产品。

目前根据药融云数据库显示,上市的利斯的明产品主要为利斯的明透皮贴剂以及重酒石酸卡巴拉汀胶囊。根据数据显示,目前没有国产的利斯的明贴剂制剂产品上市,四品规上市的利斯的明透皮贴剂均为进口,分别来自Luye Pharma AG和Novartis Europharm Limited。

透皮贴剂是一种由原料药和合适的材料制备而成的可粘贴在皮肤上使用的薄片状制剂,贴剂既可以用于完整皮肤表面,也可以用于有疾患或不完整的皮肤表面,可产生局部作用或全身性作用,其中,用于完整皮肤表面、能将药物输送透过皮肤而进入血液循环系统起全身性作用的贴剂称为透皮贴剂。

(图片来源:江苏康倍得药业股份有限公司)
透皮贴剂的定义
目前国内外对透皮贴剂的称谓尚无明确统一的叫法,据不完全统计,国外已获批的透皮贴剂名称包括transdermal patch、patch、film、tapes等。在国内,包括透皮贴剂、透皮贴片、贴片、缓释贴片等。
《中华人民共和国药典》( 2020版) <0121>贴剂项下,将透皮贴剂定义为用于完整皮肤表面能将药物输送透过皮肤进入血液循环系统起全身作用的贴剂。
《美国药典》<1151>pharmaceutical dosage forms项下,将透皮给药系统( transdermal delivery systems) 定义为用于皮肤能将药物透过皮肤真皮层达到全身作用的给药途径。
《欧洲药典》EP9. 0通则项下收载了patchs,transdermal,定义为:透皮贴剂为具有不同给药面积、含有一种或多种活性成分的药物制剂,用于完
整皮肤表面,能透过皮肤屏障将药物递送至体循环。
透皮贴剂的处方研究
原辅料对透皮贴剂的质量属性有较大影响。对原辅料组成及性能的了解有助于对制剂质量及稳定性进行更好的控制。
(1)原料药
目前已批准上市的透皮贴剂其活性成分主要为易于传递和吸收的药物。近年来,对透皮贴剂活性成分影响因素的研究主要集中在以下方面:①分子量,究竟多大分子量最合适通过皮肤屏障未有定论,小于500Da是初步共识; ②相同药性成分的不同化合盐类疗效差异( 如双氯芬酸钠、双氯芬酸钾和双氯芬酸吡咯烷乙醇盐之间)。
活性成分分子间的相互作用不仅会影响其在凝胶中与辅料分子的相互作用,也对药物的透皮过程有影响。在同样的制剂处方中,药物含量、药物分子立体构效、静电作用等可能是导致不同药物经皮透过性能差异的原因。
在透皮贴剂研发及产业化过程中,应考虑原料药中影响药效、经皮给药速度及程度的特性,如分子量、熔点、分配系数、pKa、热力学性质、粒径与晶型等。同时还应考虑影响药品生产可行性及稳定性的原料药特性,对于生产及贮藏过程中原料药性质的改变,如转晶、析晶等现象,予以关注。
(2)辅料
透皮贴剂所使用的辅料与材料可能包括各种黏合剂、透皮促进剂、增溶剂、增塑剂、增黏剂、抗氧剂、稳定剂、交联剂、结晶抑制剂、控释膜、背衬材料、保护层等。辅料可影响透皮贴剂黏附性、药物透皮渗透性及生物利用度,应与各自的功能关联进行研究。
主要辅料黏合剂多为高分子聚合物的混合物,应关注其配方组成,除了考虑其功能性指标,如分子量及分子量分布、黏弹特性、黏附/黏聚性能、流变性能等,还应关注安全性指标,如可浸出物、残留单体、残留溶剂、重金属等。
FDA建议,为更好的把控在整个产品生命周期中所购进原辅料的质量均一性,应对原辅料的关键质量属性予以识别、评估和适当控制。
小结:
经皮给药是一种重要的给药途径,皮肤递药制剂分为局部作用的传统制剂和现代经皮递药系统,前者包括软膏剂、乳膏剂、糊剂、凝胶剂、喷雾剂、涂剂、气雾剂、巴布剂、泡沫剂等。现代经皮给药系统一般指贴剂。自1979年FDA批准了首个透皮贴剂—东莨菪碱透皮贴剂上市,透皮贴剂投入市场已经有三十多年,但由于受到活性成分分子量、亲水/亲油性和熔点等因素的影响,药物品种、数量仍十分有限。尽管透皮贴剂研究存在诸多困难,但其独特的临床优势以及广阔的前景,仍吸引大量的研究者。
参考来源:
1、药通社:透皮贴剂最新动态!利斯的明透皮贴剂申报上市格局一览!
2、由春娜,宋宗华等. 透皮贴剂仿制药研发和监管考量
3、刘孟斯,姜典卓等.国内外透皮贴剂申报上市进展及药学研究探讨
(中国粉体网编辑整理/青黎)
注:图片非商业用途,存在侵权告知删除
















