中国粉体网讯 在非金属矿物经过湿法超细磨矿或粘土类矿物的湿法提纯工艺中,为了提高磨矿效率以及控制最终产品细度以满足用户的要求,通常要设置湿法分级设备。常用的超细湿法分级设备有卧式螺旋离心分级机、水力旋流器、离旋器、超细水力旋分机、碟式离心分级机等。今天小编想来聊一聊卧式螺旋离心分级机。
卧式螺旋离心分级机的简单介绍
卧式螺旋离心分级机是用离心沉降法来分离悬浮液,采用螺旋卸料的分级设备,它可以连续进料、分级和卸料,适用范围很广。
卧式螺旋离心分级机实图
特点
螺旋式离心分级机具有连续操作强,处理能力大,单位产量能耗少,维修方便等优点。它能够处理颗粒粒径1um-10mm的分级作业。
应用
卧式螺旋离心分级机采用湿法分级的方式,其处理量可达1~20(m3浆料)kg/h,其广泛应用于矿物、金属粉、化工原料、颜料、填料等方面。
卧式螺旋输送机的构成
卧式螺旋式离心分级机主要是由转鼓、螺旋推料器、差速器、机壳、机座等部分构成。

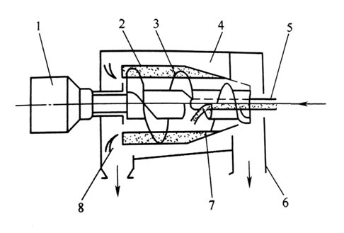
卧式螺旋离心分级机结构示意图
1-差速器;2-转鼓;3-螺旋推料器;4-机壳;5-进料管;6-排渣口;7-进料仓;8-溢流环
转鼓
转鼓是离心机的主要部件。悬浮液在转鼓内完成固液分离,转鼓直径450mm、长1910mm。转鼓内液池容量的大小取决于溢池深度或液体半径R值(R值是转鼓轴中心线到溢流板上堰的距离)。

转鼓大端溢流孔及溢流板示意图
螺旋推料器
螺旋推料器采用螺旋叶片(厚度6mm),倾角为与中心线垂直,螺距IX140mm,配套的进料管长为1150mm,进料区外半径为117mm,螺旋输送器在转鼓内与转鼓同心安装,同向旋转。
差速器
差速器是离心机最重要的部件,其性能好坏、质量优劣决定了离心机的运行可靠性。离心机差速机为先进的二级行星齿轮箱,通过涡流电流制动器来控制,从而控制转鼓与螺旋输送器之间的转速差。主机功率为55kW。二级行星齿轮箱具有如下特点:
a.转速差能随进料量的改变(流量和浓度)而跟踪变化,离心机适宜的转速差为1~10r/min,无级调速。
b.可使螺旋输送器获得足够的扭矩,离心机最大扭矩为6kN∙m。
c.控制精确、可靠,大大提高了离心机运行可靠性。
工作原理
卧式螺旋离心机是一种卧式螺旋卸料、连续操作的沉降设备。其工作原理为:转鼓与螺旋以一定差速同向高速旋转,物料由进料管连续引入输料螺旋内筒,加速后进入转鼓,在离心力场作用下,较重的固相物沉积在转鼓壁上形成沉渣层。输料螺旋将沉积的固相物连续不断地推至转鼓锥端,经排渣口排出机外。较轻的液相物则形成内层液环,由转鼓大端溢流口连续溢出转鼓,经排液口排出机外。

卧式螺旋离心分级机动图
在离心机中,为了衡量离心力的大小,通常用分离因数Fr表示,分离因数是离心加速度与重力加速度之比,Fr=RW2/g。由此可知,对于一定物料、转鼓转速越大,分离因数就越大,分离效果也更好。对于固体颗粒小、分散度大、液相粘度大的难分离的悬浮液,可采用分离因数较高的离心机。
















