中国粉体网讯 据国家知识产权局公告,近日,隆基绿能为提高硅材料品质申请公布了一系列专利:“石英坩埚及其制备方法、单晶炉”“ 一种单晶炉热场及单晶炉”“一种晶体生长装置和方法以及单晶硅棒”“ 一种单晶硅棒拉制方法、换热装置和单晶硅棒拉制装置”“硅棒的加工方法及装置、电子设备”“ 一种单晶炉引晶时机判断方法、装置及设备”等。
石英坩埚及其制备方法、单晶炉

该发明提供了石英坩埚及其制备方法、单晶炉,涉及单晶硅制备技术领域。方法包括:在模具表面依次铺设外层石英砂和内层石英砂;外层石英砂中,粒度介于50目至200目之间的石英砂的质量含量,大于等于外层石英砂的质量的90%;外层石英砂中,气泡包裹体的体积含量,大于等于外层石英砂的体积的6‰,小于等于10%;外层石英砂中,杂质的含量小于等于50ppm;内层石英砂中,粒度介于50目至200目之间的石英砂的质量含量,大于等于内层石英砂的质量的90%;内层石英砂中,气泡包裹体的体积含量小于等于内层石英砂的体积的5‰;内层石英砂中,杂质的含量小于等于40ppm。本申请大幅度降低了石英坩埚的生产成本。
一种单晶炉热场及单晶炉

该专利提供了一种单晶炉热场及单晶炉,其中,单晶炉热场包括加热器及坩埚,所述加热器绕所述坩埚设置于单晶炉的炉体内,且所述加热器的上沿与所述坩埚的上沿之间的第一高度差为110mm~90mm。本申请实施例提供的单晶炉热场,可以有效缓解加热器对坩埚的腐蚀,降低氧含量,提升拉晶速率,同时减小热量损失,有利于节约生产成本。
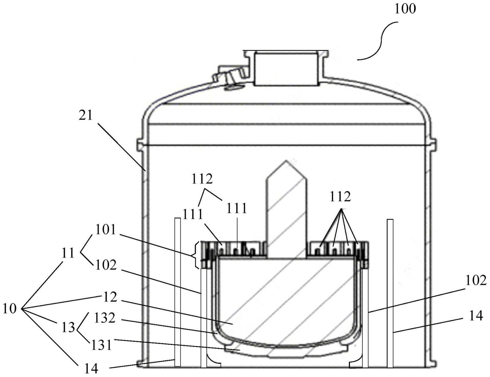
一种晶体生长装置和方法以及单晶硅棒

该发明提供了一种晶体生长装置和方法以及单晶硅棒。所述晶体生长装置包括:晶体生长装置,其特征在于,所述晶体生长装置包括:炉体以及设置在所述炉体内的坩埚、加热器以及保温结构;其中,所述加热器至少部分设置在所述坩埚的侧面,所述保温结构套设在所述加热器外;所述保温结构沿所述炉体径向的厚度满足第一预设范围。该发明的晶体生长装置可以避免被冷却介质带走的能量损耗,实现降功耗的目的,降低所述单晶硅棒的拉制成本。
一种单晶硅棒拉制方法、换热装置和单晶硅棒拉制装置

该申请提供了一种单晶硅棒拉制方法、换热装置和单晶硅棒拉制装置。所述单晶硅棒拉制方法包括:提供主炉体,所述主炉体内装有坩埚、加热器以及换热器,在所述换热器中通入第一介质,所述坩埚盛放有硅料;启动所述加热器将所述硅料熔化成硅液,以在所述硅液中执行拉晶操作,并向所述换热器中通入第二介质。本申请实施例可以提高所述换热器的换热能力,以提高所述单晶硅棒拉制过程中的晶体生长速度,并相应提高所述单晶硅棒的拉制速度。
硅棒的加工方法及装置、电子设备

该发明实施例提供了一种硅棒的加工方法及装置、电子设备,应用于抛光机,该方法包括:在接收到用户输入的目标参数的情况下,将抛光机的进给轴偏置设置为目标参数;基于当前进给轴偏置中的目标参数,对待加工硅棒中的第一硅棒进行加工,得到大于目标上限值的第一硅棒;计算第一尺寸值和加工目标值之间的差值,得到第一修磨量,第一尺寸值为大于目标上限值的第一硅棒的尺寸值;在基于第一修磨量对第一尺寸值的第一硅棒执行修磨操作的情况下,采用第一修磨量对进给轴偏置进行补偿。本发明可以避免由于加工后的硅棒的尺寸过小导致的材料浪费;同时,利用修磨操作的修磨量对进给轴偏置进行补偿,提升了硅棒加工的整体效率。
一种单晶炉引晶时机判断方法、装置及设备

该发明涉及单晶硅技术领域,特别是涉及一种单晶炉引晶时机判断方法、装置及设备。方法包括:在调温阶段,获取连续多帧籽晶的样本图像;在样本图像上设置检测区域,检测区域用于捕捉籽晶的晶点;根据连续多帧样本图像,确定检测区域内籽晶上的晶点生长状态;根据晶点生长状态,确定引晶时机。通过实时采集调温阶段中连续多帧籽晶的样本图像,并在样本图像上设置检测区域,根据连续多帧样本图像,确定检测区域内籽晶上的晶点生长状态,根据晶点生长状态,可以确定引晶时机,该方法可实时检测晶点生长状态,提高引晶时机的及时性、准确性,以及引晶成功率,减少因引晶时机不准导致的断线等异常工时的增加,且避免造成工时浪费,提高硅棒的产能。
参考来源:国家知识产权局,隆基绿能官网
(中国粉体网编辑整理/九思)
注:图片非商业用途,存在侵权告知删除!
















